Tous sujets

  • Auteur de la discussion Auteur de la discussion ziocar
  • Date de début Date de début

ziocar

Membre HybridLife Mentor
"Avec un prix d'environ 236 000 dollars, la Yangwang U9 se classe parmi les voitures de luxe grâce à ses performances extraordinaires. Propulsée par quatre moteurs électriques indépendants, la voiture développe une puissance de 1 287 chevaux et un couple de 1 680 Nm. Ces chiffres se traduisent par une accélération de 0 à 100 km/h en seulement 2,36 secondes et une vitesse maximale de 391 km/h, ce qui en fait l'une des voitures électriques les plus performantes du marché.
Lors d'un récent événement, la Yangwang U9 a impressionné le public par ses capacités autonomes, démontrant sa capacité à sauter des obstacles sans intervention humaine. Au cours de la démonstration, la voiture a traversé un trou d'eau de 2,5 mètres et une bande de clous, attirant l'attention des experts et des passionnés. Bien que cette fonction soit actuellement au stade expérimental, elle soulève des questions sur l'avenir de la mobilité et l'intégration de technologies similaires dans les véhicules de série."
Lien

Dans les années 80, pour ceux qui s'en souviennent, il y avait Kitt conduite par David Hasselhof qui, dans les émissions télévisées, sautait, maintenant c'est devenu une réalité.

Immagine 2025-01-23 141152.png
727807_poster.jpg

Pour les modérateurs :
j'ai pesé ouvrir une discussion « tous sujets » où chacun peut écrire des messages génériques sans nécessairement ouvrir de nouvelles discussions pour éviter la « croissance » anormale des discussions.
Si ce n'est pas le cas, pas de problème.
 
Sur un groupe WhatsApp que je suis, une personne a dit avoir téléchargé une application qui lui permet de visualiser la consommation (Wh/km) en fonction de la vitesse.
Les trajets ne sont comptabilisés que s'ils dépassent 24 km.

Immagine WhatsApp 2025-01-26 ore 20.07.14_894fb4a4.jpg

Cela me semble être des données intéressantes.
 
"Le dialogue stratégique entre la Commission européenne et l'industrie automobile pourrait se terminer par plusieurs concessions, dont la possibilité d'un changement profond de la réglementation actuelle sur les émissions, qui impose en fait l'arrêt de la vente de nouveaux modèles endothermiques en 2035. Selon Der Spiegel, Bruxelles envisage des dérogations pour permettre aux véhicules hybrides rechargeables et aux voitures électriques range extender d'être vendus même après l'entrée en vigueur de l'interdiction."
Lien
 
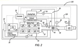
"Tuyau d'échappement pour voitures électriques ?

Contre les fuites thermiques et les gaz nocifs
Lorsqu'une batterie subit une défaillance, telle qu'un court-circuit, un dommage mécanique, un incendie externe, une surcharge ou toute autre condition, un phénomène appelé « emballement thermique » peut se produire. La cellule peut alors produire un cocktail de gaz inflammables composé d'hydrogène, de méthane, d'acétylène, de propane, etc.

Le pot d'échappement Stellantis expulse ce mélange de la batterie et empêche les flammes de se propager et la voiture de s'enflammer complètement. En outre, il purifie chimiquement les gaz. Un peu comme un catalyseur."


Immagine 2025-02-06 174529.png
Lien
 
"Selon Der Spiegel, Bruxelles envisage des dérogations pour permettre aux véhicules hybrides rechargeables et aux voitures électriques range extender d'être vendus même après l'entrée en vigueur de l'interdiction."
Ça semblerait une évolution raisonnable, il va falloir admettre que le tout électrique ne pourra pas être la solution unique universelle et 2035, c'est déjà demain, à l'échelle de tout ce qui entre en jeu, tant pour les industriels, les collectivités ou même les particuliers.
D'ici à ce qu'il faille aussi se résoudre à garder du moteur thermique pour d'autres situations, à coup de carburants non fossiles le cas échéant, ça pourrait encore évoluer.
 
On dirait qu'ils cherchent des solutions pour renchérir le coût de l'électrification. C'est vrai que c'est pas assez cher une voiture. J'avoue que le pot d'échappement sur un VE, j'y aurait pas pensé (à part peut-être sur un poêle à bûche sur le siège passager l'hiver pour ne pas grever l'autonomie).

1738930079108.jpeg
 
D'ici à ce qu'il faille aussi se résoudre à garder du moteur thermique pour d'autres situations, à coup de carburants non fossiles le cas échéant, ça pourrait encore évoluer.
Oui, mais en attendant, nous avons perdu du temps à mettre tout un secteur en crise pour atteindre moins de 2% d'EV en Europe (au niveau mondial, nous serons à 3%).
Malheureusement, la « myopie » de certains décideurs (que j'espère coupables et non malveillants, même si des nouvelles peu rassurantes commencent à sortir) conduit à une avalanche de problèmes.
Il aurait suffi de s'ouvrir dès le départ à toutes les solutions "éco-responsables" et rien de tout cela ne serait arrivé mais, comme on dit, il est facile de parler après.
 
"La consommation réelle de 12 voitures électriques : le super test 2025.
Notre piste d'essai est toujours l'autoroute A90, le Grande Raccordo Anulare (GRA) un périphérique urbain de 68 km autour de Rome qui - avec des limitations de vitesse entre 130 et 110 km/h, mais des embouteillages fréquents - permet de simuler toutes les conditions de vitesse et de circulation."
Lien

Immagine 2025-02-10 175014.png
Immagine 2025-02-10 175043.png

Dans les tableaux, les écritures sont en italien, mais je pense qu'elles sont compréhensibles, au cas où vous le demanderiez et que je traduirais.
 
Juste en passant ...
Je vois que l'Alfa Junior (j'en veux une en rouge :giggle:) plus haute et plus lourde (160kg) que la R5 (j'en veux une en jaune :giggle:) consomme moins (17.5kWh/100 vs 19), un peu étonnant ?
 
Je pense qu'une partie du « problème “ réside dans le fait que les ” pilotes » étaient tous différents et avaient donc des sensibilités différentes, mais je ne sais pas dans quelle mesure, en pourcentage, cela a pu avoir une influence.
 
Pour le rouge, j'ai un ami randonneur qui a acheté récemment une Alfa Junior (MHEV je pense), il l'aurait aimée en rouge mais selon lui le rouge c'était 1500€ de plus, et il fait le covoiturage avec une Alfa blanche
 
Un ami « électrique » m'a envoyé ces deux photos :
Immagine WhatsApp 2025-02-11 ore 19.12.18_d34b15a3.jpgImmagine WhatsApp 2025-02-11 ore 19.12.18_1e7490e1.jpg
Apparemment, il y a des bornes de recharge uniquement pour les personnes handicapées à Florence
 
Quelles sont les voitures les plus écologiques vendues en Europe ?
Green NCAP a évalué les voitures testées en 2024 : l'Opel Corsa électrique l'emporte, voici toutes les autres :
Immagine 2025-02-11 203949.png
Lien
 
Bonjour ziocar
Interessant comme site cependant (par curiosité) j'ai regardé les résultats pour la Yaris Cross (2RM/17pouces) et les chiffres pour la consommation ne correpondent pas aux miens
"Moyenne 6.0L/100
Pire-cas 8.3L/100"
Dans mon cas en zone urbaine (30-50-70 km/h) je suis entre 3.8-4.4 entre été/hiver
Sur départementale (80km/h) à +/-4.2L (été)
Sur autoroute à 5.4 (été) - je suis plus à 120/125 qu'à 130km/h GPS
Mes données sont approximatives certes mais loin des chiffres du site
Et souvent avec passagers et coffre +/- plein et assez souvent climatisation en route
1739358730836.png
 
"Geely, le célèbre groupe automobile chinois, a récemment dévoilé son dernier moteur, le Super Methanol Hybrid. Ce nouveau groupe motopropulseur représente un pas important vers l'innovation et la durabilité dans le secteur automobile.
Lors de la présentation, le PDG de Geely, Gan Jiayue, a mis l'accent sur l'efficacité thermique du moteur, qui est de 48,15 %, ce qui est supérieur à la moyenne de ce secteur. Cette efficacité est essentielle pour réduire la consommation de carburant et les émissions nocives. En outre, le moteur est conçu pour fonctionner en douceur même à des températures extrêmes allant jusqu'à -40°. Ces caractéristiques font du Super Methanol Hybrid une solution viable pour le marché automobile mondial.
Le lancement du Super Methanol Hybrid s'inscrit dans un contexte plus large de diversification de l'offre des constructeurs automobiles chinois. Alors que la demande de véhicules à faibles émissions augmente, Geely et d'autres marques investissent dans les technologies hybrides et électriques."
Lien
 
"La nouvelle Citroën ë-C3 a été élue « Best Value Electric Car » lors des Driving Electric Awards 2025.
Turin, le 13 février 2025 - La nouvelle Citroën ë-C3 a été élue « Best Value Electric Car » lors des Driving Electric Awards 2025. Cette nouvelle récompense vient s'ajouter aux nombreuses victoires de ë-C3, dont celles de « Voiture de l'année “ et ” Voiture électrique économique de l'année “ aux Auto Express New Car Awards 2024, ” Meilleure petite voiture électrique “ aux CarBuyer Awards 2025 et ” Prix de la bonne affaire » aux Automobile Awards 2024. ë-C3 a également été finaliste aux European Car of the Year Awards 2025, où elle a terminé à la troisième place."
Lien
 
« Les conducteurs de Tesla Model Y sont plus distraits (et provoquent des accidents mortels).
L'étude est réalisée par la société américaine de vente de voitures d'occasion iSeeCars, selon laquelle la Model Y a un taux d'accidents mortels 3,7 fois supérieur à la moyenne des voitures ayant parcouru au moins 1 milliard de kilomètres au total sur les routes. En revanche, la Model S est exactement deux fois plus susceptible de provoquer un accident mortel. »
Lien

Selon cette étude, le problème n'est pas la technologie mais la distraction du conducteur qui utilise ces technologies.
 
C'est simplement humain, car on fait confiance à quelque chose qui semble être autonome et qui n'est pas qualifié pour cela.

C'est le même problème avec tous les systèmes maintient dans la voie ou freinage/ralentissement automatique qui sont maintenant obligatoires.
Le législateur est à mon sens responsable de ne pas avoir pris en compte de cet aspect. La prise de confiance.

Par exemple pour le maintient dans la voie: les voiture s'auto-centre toutes seules, on est tenté d'être moins attentif, et quand le système t’avertit qu'il y a un problème, tu n'es pas concentré et il te faut plusieurs secondes pour prendre conscience du pb, l'analyser et agir.

Dans ce cas le législateur aurait été bien plus averti de demander aux constructeurs de faire un maintien dans la voie qui fait du ping pong entre les lignes blanches. Éliminant la baisse d'attention du conducteur tout en gardant une récupération du véhicule par le système.
 
En fait, je n'ai, comme automatisme, que le réglage de la vitesse mais, pour être honnête, les quelques fois où je l'ai utilisé, le fait de pouvoir retirer mon pied de la pédale d'accélérateur m'a « causé » un léger retard lorsque j'ai dû remettre mon pied sur la pédale d'accélérateur, je peux imaginer ce que cela peut être en utilisant toute la technologie disponible aujourd'hui.
Le meilleur capteur/technologie est toujours l'homme, à condition qu'il conduise avec sa tête.
 
C'est simplement humain, car on fait confiance à quelque chose qui semble être autonome et qui n'est pas qualifié pour cela.
Alors attention parce que tu réagis au résumé sur un forum d'un article putaclic qui résume lui-même le résumé d'une étude. Et à la lecture du résumé initial (parce que l'étude complète n'est pas dispo) il faut apporter quelques nuances.


L'étude mentionne uniquement les accidents où un passager est décédé, pas tous les accidents. Si le but est d'étudier la probabilité d'un accident en général, il faudrait regarder d'autres chiffres.

La première Tesla arrive à la 6e place du classement. La bonne vieille Honda CR-V hybride est juste devant.
L'autre Tesla, la Model S, arrive à la 21e place. La bonne vieille Prius est juste devant.
Aucune trace dans le classement des Model 3 et X qui sont pourtant populaires aux USA.

On ne sait pas comment est calculé le score global des constructeurs - ils ont pris en compte toutes les voitures, ou bien celles pour lesquelles ils ont des résultats ?

On pourrait faire un article tout aussi putaclic en disant que les hybrides sont parmi les voitures les plus dangereuses pour leurs occupants - le score de la CR-V hybride et de la Prius montre bien qu'elles sont des cercueils roulants. Et ensuite on pourrait proposer des hypothèses...
 
Dernière édition:
Retour
Haut